人间四月芳菲至,万紫千红满目春。4月20日,安博体育手机版4000多名应届毕业学生首批返校。如何做到抗疫复学两不误?安博体育手机版精心谋划、反复模拟,推出信息化三项“硬核操作”,用智慧手段助力学生安全返校。
“大数据”助力返校学生精准排查
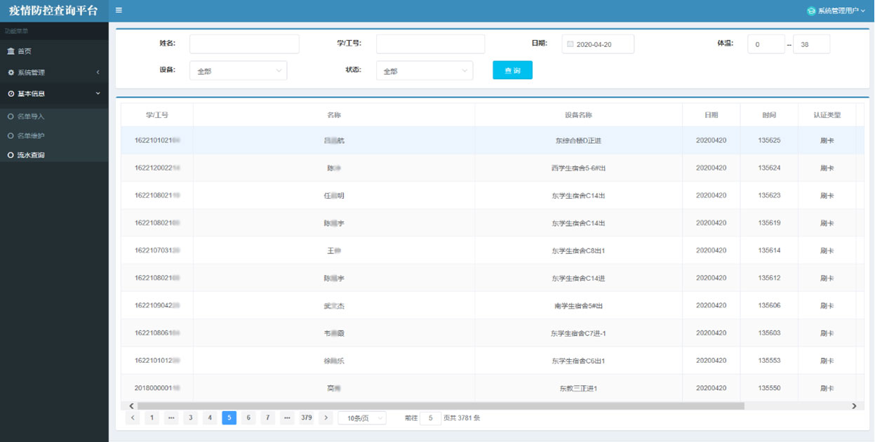
哪些学生可以返校、哪些学生返校后需要集中隔离……全覆盖、无遗漏、精准掌握每位学生的居住地、假期出行轨迹及返校前14天健康状况,坚决堵塞任何疫情传播漏洞,对于学校复学至关重要。安博体育手机版20000余名师生每天通过“健康打卡”小程序进行健康信息填报,生成了精准的个人健康档案。返学前,学校用大数据技术对毕业生返学前连续14天健康档案进行数据分析和筛查,发布14日内健康异常人员数据,为确定学生报到名单提供了有力的支撑。

疫情防控查询平台界面
“小机器”2秒实现身份核验
在报到现场,验证苏康码、体温检测这样的入学常规操作之外,安博体育手机版推出“刷身份证、秒速报到”的入学手续办理方式。“不用拿学生证、不必出示校园卡,只要刷一下二代身份证,2秒钟就能完成身份核验!”材料学院的闵海同学感叹到:“刷身份证相对于”扫二维码“,具有快速、安全的明显优势。避免了扎堆扫码、人员停留时间长,造成校门拥堵和交叉感染的风险。学校考虑得太周到了!”

进校园秒速身份核验
“校园卡”辅助人员聚集管控
疫情期间根据上级要求,如何追溯、排查师生校内活动轨迹?如何进行图书馆等封闭场所的人流预警?安博体育手机版在镇江三个校区的8栋楼宇(包括教学楼、实验楼、宿舍及办公场所)紧急部署门禁设备、升级通道机,用于记录师生通行数据。用校园卡辅助师生进出楼宇管控,用数据辅助场所人员分流,为有效应对人员聚集易造成交叉感染风险提供了有力支撑。学校防疫工作领导小组能实时获取相关场所的人员流量信息,遇到突发事件可以快速反应、精准决策。

刷校园卡进宿舍楼宇
2020年2月14日,习近平同志在主持召开中央全面深化改革委员会第十二次会议时指出:要鼓励运用人工智能、大数据、云计算等数字技术在疫情监测分析、病毒溯源、防控救治、资源调配等方面更好地发挥支撑作用。安博体育手机版迅速响应号召,精心谋划、细心部署,利用信息化手段把防疫工作从应急管控向“常态化”防控转变。 智慧复学,智慧管控,安博体育手机版正在行动!
http://xxh.resource.edu.cn/news/1772.html 中国教育和科研计算机网 2020年4月21日



